LIGHTING SYSTEMS
- Internal Lighting
- External lighting
- Façade lighting
- Landscape lighting
- Street lighting
- Exit sign (CBS & Self Contained)
- Emergency lighting (CBS & Self Contained)
- Special lighting requirements
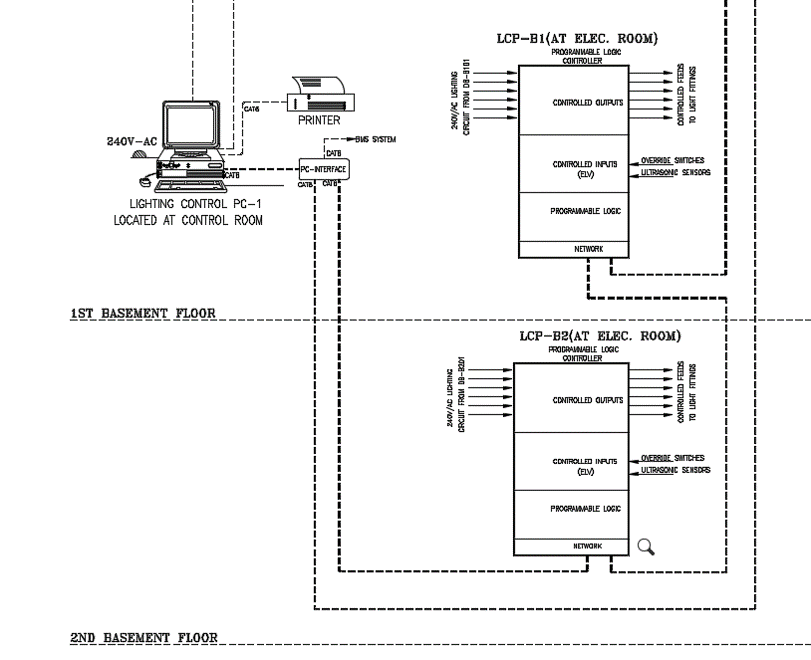
LIGHTING CONTROL SYSTEMS
- Normal switching
- Dimming control system
- Motion detection system
- Day lighting control
- Home automation solutions